Литі металовироби та запчастини для спецтехніки та залізничних вагонів
Продам/Купити
Тип: Приватне
Додано: 22.11.2025 о 10:13:38
Опис пропозиції:
Литі металовироби та запчастини для спецтехніки та залізничних вагонів. Виготовляємо металеві запчастини для спецтехніки, деталі ходового візка: хомут тяговий; буксові вузли; букси, деталі автозчепки та інші.
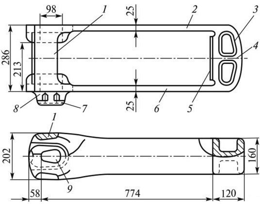
На фото показано приклади металоконструкцій залізничного вагону та основні литі конструкції ходового (транспортного) візка. В умовах повоєнного відновлення економіки України актуальним є нарощування виробництва вантажних вагонів із застосуванням інноваційних металургійних та металообробних технологій. Серед таких технологій є лиття металу за моделями, що газифікуються розплавленим металом у ливарній формі завдяки виготовлення моделей з легковагого пінополістиролу (ППС) та формування їх у контейнері з сухим піском і вакуумування контейнера при заливанні форми (ЛГМ-процес, Lost Foam Casting).
Приклади виливків, отриманих у дослідному цеху інституту ФТІМС НАН України в процесі відпрацювання технології ЛГМ, показано на фото, а саме: хомут тягловий; букса (в двох видах з моделлю); надресорна балка. Варіанти виготовлення моделей бічної рами показано: модель від ФТІМС НАН України. Подальше удосконалення технології ЛГМ для виливків транспортного візка полягає у поєднання традиційних ливарних процесів з адитивними технологіями, що відкриває нові можливості для створення легших і міцніших конструкцій. Це сприятиме підвищенню ефективності вантажних перевезень, зменшенню експлуатаційних витрат і забезпеченню конкурентоспроможності українського залізничного машинобудування. Інтеграція передових технологій у виробництво транспортних візків відповідає стратегічному напряму розвитку цієї галузі.
На фото показано приклади металоконструкцій залізничного вагону та основні литі конструкції ходового (транспортного) візка. В умовах повоєнного відновлення економіки України актуальним є нарощування виробництва вантажних вагонів із застосуванням інноваційних металургійних та металообробних технологій. Серед таких технологій є лиття металу за моделями, що газифікуються розплавленим металом у ливарній формі завдяки виготовлення моделей з легковагого пінополістиролу (ППС) та формування їх у контейнері з сухим піском і вакуумування контейнера при заливанні форми (ЛГМ-процес, Lost Foam Casting).
Приклади виливків, отриманих у дослідному цеху інституту ФТІМС НАН України в процесі відпрацювання технології ЛГМ, показано на фото, а саме: хомут тягловий; букса (в двох видах з моделлю); надресорна балка. Варіанти виготовлення моделей бічної рами показано: модель від ФТІМС НАН України. Подальше удосконалення технології ЛГМ для виливків транспортного візка полягає у поєднання традиційних ливарних процесів з адитивними технологіями, що відкриває нові можливості для створення легших і міцніших конструкцій. Це сприятиме підвищенню ефективності вантажних перевезень, зменшенню експлуатаційних витрат і забезпеченню конкурентоспроможності українського залізничного машинобудування. Інтеграція передових технологій у виробництво транспортних візків відповідає стратегічному напряму розвитку цієї галузі.
Можлива доставка: Самовивіз
Від: Володимир
Киев, Гармаиная 16, Київська область
Ціну не вказано
Стан: Ідеальний - Нові
Можливий торгВаша безпека!
За будь-яких умов, уникайте передоплат і не відправляйте дані ваших банківських карт.
Оголошення №118676 Литі металовироби та запчастини для спецтехніки та залізничних вагонів на board.if.ua переглянуто: 33 раз(и,ів)
Також вас можуть зацікавити ці оголошення з розділу Техніка, обладнання:
Нові оголошення
06 січня 2026 12:55:20довгострокова оренда 2-к квартири
06 січня 2026 11:02:20купити собаку
06 січня 2026 08:08:25Buy Cenforce Wholesale for Affordable and Convenient Solutions
06 січня 2026 01:26:35С5318-10, 950500, БС-54, ЗК-12, УВ-57, Д-2МТ, У-6М, ПСВ-УМ, Т-90, Т-64-4с, П-2ТР
06 січня 2026 01:04:26340.129А, БУСГ-400-1, ПТ-200Ц, ПТ-125Ц, НР-40ВА, НД-24Т
Популярні оголошення
Всього
33214
оголошень(ня)